SİMETRİK BİLEŞENLER
Üç-fazlı sistemlerde, sitemin analizinin yapılıp matematiksel hesaplamaların düzgün bir biçimde yapılabilmesi için ne gereklidir?
Şebeke elemanlarına ait eşdeğer devrelerin sıralı bileşen devrelerinin oluşturulması gereklidir.
Negatif-sıralı bileşenler nasıl fazörden meydana gelmektedirler?
Eşit büyüklükte, aralarında ±120° faz kaymasına sahip ve açısal olarak negatif yönde sıralanmış üç ayrı fazörden meydana gelmektedirler. Açısal olarak negatif yön, saat yönünün tersini ifade eder.
Kompleks bir sayı olan a , yine kompleks sayı olan j = −1 1 90 = ∠ ° ile benzer ise j ile a arasındaki fark nedir?
Tek fark açı değerleridir.
Dengeli üç-fazlı sistemde neden sıfır-sıralı gerilim yoktur?
Çünkü üç dengeli fazörün toplamı (vektörel olarak) sıfırdır.
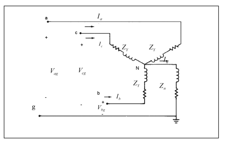
Üç-fazlı Y bağlı bir sistemde; n I nötr akımı, neye eşittir?
Hat akımlarının fazör olarak vektörel toplamına eşittir.
Vp hat-toprak arası gerilimleri ( veya faz gerilimleri) içeren sütun vektörü, p I hat akımlarını içeren (veya faz akımları) sütun vektörü ve Zp ise ne olarak adlandırılır?
3×3 ’lük faz empedans matrisi olarak adlandırılır.
Sıralı devrelerin ayrıklığı neyin sonucudur?
Zs matrisinin dengeli ve Y bağlı yük için köşegen tipte olmasının sonucudur.
Nötr empedans, hangi devrelerde görülmez?
Pozitif- ve negatif-sıralı devrelerde görülmez.

Eğer şekilde gösterilenY yükünün nötr noktası sıfır-ohm’luk bir iletken ile topraklandığında ne olur?
Eğer Y yükünün nötr noktası sıfır-ohm’luk bir iletken ile topraklandığında, nötr empedans değeri sıfır olur ve sıfır-sıralı devresindeki 3Zn terimi kısadevre olur.
Simetrik yük nedir?
Sıralı empedans matrisi köşegen olan yük olarak tanımlanmaktadır; yani, (2.51)-(2.54) aralığındaki bütün karşılıklı empedanslar sıfırdır.
Simetrik yük için olması gereken şartlar nedir?
Köşegen faz empedansları eşittir ve aynı şekilde köşegen dışı faz empedansları da eşittir.
Seri faz empedansları üzerindeki gerilim düşümleri ne şekilde verilir?


Yukarıdaki denklem nasıl bir forma sahiptir?
![]()
![]()
Zp faz empedans matrisi, eşit öz empedanslara ve eşit karşılıklı empedanslara sahip ise denklemi nasıl bir şekle dönüşür?

Seri empedanslar simetrik değilse ne olur?
Zs matrisi köşegen değildir, sıralı devreler ayrık değildir ve herhangi bir sıralı devre üzerindeki gerilim düşümü tüm sıralı akımlara bağlıdır.
Üç-fazlı iletim hatlarının sıralı devrelerini elde etmek için hangi denklemden yola çıkılabilir?

Tamamen devrik hale getirilmiş üç-fazlı iletim hattının seri sıralı empedans devreleri nasıldır?

Zn nötr empedans üzerinden topraklanmış Y bağlı senkron jeneratör nasıldır?

Senkron motorların özellikleri nelerdir?
Senkron jeneratörler ile aynı sıralı devrelere sahiptir. Aralarındaki tek fark; senkron motorların sıralı akımlarının akış yönünün, sıralı devrelerin dışına doğru değil, devrelerin içine doğru olmasıdır.
Dengeli pozitif- veya negatif-sıralı akımlar transformatöre uygulandığında ne olur?
Nötr akımlar sıfır olur ve nötr empedanslar üzerinde gerilim düşümü olmaz.